Property Details

Featured in:

Winners:

Featured in:

Winners:

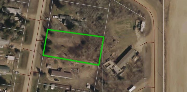
#226, 660022 - Range Road 225.5 (Unit 35)
Athabasca (A2253614)

$70,000
Loading Listing...

Loan Term
Interest Rate
Loan Amount
Annual Tax
Ann. Insurance

* Amounts are estimates only. Final payment amounts may vary.

Description

Vacant lot at Westwind Park. Ready for your modular. Located on the north end of Westwind Mobile Home Park is this 0.4 acre lot. Power meter, municipal water and a new septic tank system are all on the lot, with only gas needing to be brought in. Westwind is a community south of Athabasca, AB that provides residents with a convenient and comfortable living environment. Amenities at Westwind include common areas, playgrounds, and convenient parking options. The community strives to create a welcoming and inclusive atmosphere for all individuals seeking a place to call home. Price includes GST. Condo fees are $100/month and include garbage, street lighting, main road grading (not driveways). Water meter charges are $20/month plus usage.

Property details

Basic Info

MLS® #
A2253614
Property Type:
Land
Subtype:
Residential Land
Subdivision:
NONE
Price
$70,000
Sale/Lease:
For Sale

Building Info

Garage:
No
Basement:
No
Inclusions:
na

Condo/Association Info

Condo Type:
Bare Land Condo
Condo Amenities:
Park
Condo Fee:
$1
Condo Fee Includes:
See Remarks

Acreage/Farm Info

Nearest Town:
Athabasca

Lot / Land Info

Lot Size:
0.40 acres
Lot Dimensions:
30.71 m x 61.18 ,
Utilities:
See Remarks
Zoning:
A

Listing Info

Possession:
Immediate
Days on Market:
183
Related Properties
Share This Listing
Ask About This Property
  • This site is protected by reCAPTCHA and the Google Privacy Policy and Terms of Service apply.
Your Agent

Grassroots Realty Group Ltd.
1-833-477-6687

Email